首 页 公司简介 新闻动态 主要产品 先进设备 联系我们
 
product
主要产品
铝材化学抛光剂
建筑石膏
硫酸铝水处理剂
氢氧化铝
工业硫酸钠
首页 / 新闻动态
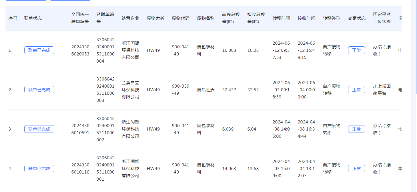
危险废物信息贮存、处置信息
时间:2024/07/12
 
 

/ckfinder/userfiles/files/07c1e42cfbb4436cabac41a51b126ed(1).jpg

/ckfinder/userfiles/files/bf3184ea1cd76749f2e10285f102ce8(1).png

/ckfinder/userfiles/files/96d3b1b76b32e484cb47b4cb3b2a0d4.png

 
 
版权所有©2018绍兴市九鑫环保有限公司 浙ICP备2023015326号